{{ v.name }}
{{ v.cls }}类
{{ v.price }} ¥{{ v.price }}
今天我们一起看看一个命运多舛的商标成长记——PARIS BAGUETTE。

巴黎贝甜Paris Baguette是韩国艾丝碧西食品有限公司旗下品牌,隶属于在韩国有着65年历史的食品集团SPC。
Paris Baguette原意是指“巴黎法棍”,“法棍”代表着正宗的法式面包,至今仍保留着将法棍放在门店的入口处,面包出炉时敲钟的浓郁法式风格。

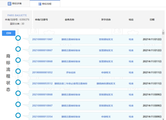
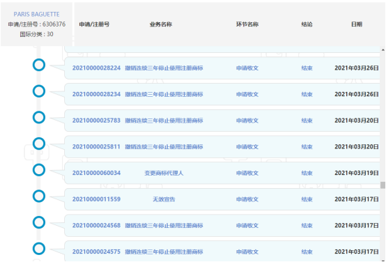
本篇文章无法全部显示“PARIS BAGUETTE”商标流程,被驳回、被异议、被无效、被撤三,复审、诉讼、转让、许可、变更,基本上能经历的都经历了。


商标2007年9月30日申请,2009年7月13日被驳回,同年7月31日申请驳回复审,成功进入初审,2010年7月27日初审公告,2010年10月13日被提出异议,异议不成立,到2015年正式取得商标权。历经千辛万苦,终于松了口气,2016年就迎来第一次无效宣告,经过答辩,商标继续维持有效;嘿嘿,第二次,第三次,第四次......第十次无效宣告,历经磨难,以为完事,不这还只是磨难的一种形式。还要恭喜申请人,您的商标注册公告满3年喽......
2019年6月第一次撤三来哦,截止到发稿,被提了44次撤三......在30类申请了54件商品,经历了44次撤三,还能保留多少呢?在巴黎贝甜店里并没有看到面条、饺子、米等在销售,不知被撤三时能否提供相应的使用证据。最近一次的撤三决定,撤销在“食用盐,调味用盐”部分核定使用商品上的注册。

这件商标从一路成长到目前,经历一次复审,一次异议,十次无效,四十四次撤三。让我们从中学习下,如果自己在申请商标时遇到拦路虎怎么办,答案-撤三。对方在使用怎么办,不要请求全部撤销。如果商标被撤三怎么办,一路答辩,不可遗漏一次。
商标的学问很多,不只是提交个注册这么简单,越是到后面这些流程,越是需要专业的代理来帮忙。术业有专攻,记住专业的事儿要找专业的人来做。
