{{ v.name }}
{{ v.cls }}类
{{ v.price }} ¥{{ v.price }}
“你爱我,我爱你,蜜雪冰城甜蜜蜜”。
最近,蜜雪冰城这个主题曲火遍全网,就像当初的脑白金广告一样成为洗脑神曲。

随着病毒式的传播,这个神曲被各路网友玩坏了,出了民族版、外语版、暗黑版等等,甚至还有一些歪曲、丑化品牌形象的行为。
对此,蜜雪冰城发布声明称:“近期,各大网络平台不断出现对蜜雪冰城品牌 LOGO 和商标标识的再创作行为。蜜雪冰城股份有限公司为进一步规范标识的使用,声明如下: 一、我司作为蜜雪冰城系列商标专有权人,享有蜜雪冰城系列商标的专有权利。我司发现有部分社会公众、媒体将标识与他人知识产权内容相结合,该行为非我司行为,因该行为产生的一切法律责任将由行为人自行承担。我司对以任何形式、方法,歪曲、丑化我司品牌形象或侵犯我司知识产权的行为,保留追究其相关法律责任的权利。”
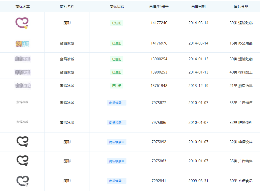
不查不知道,一查吓一跳,主攻三四线城市的蜜雪冰城,在商标保护方面一点也不含糊,名下有1500余件商标。
其中,申请较早的一批“蜜雪冰城”和图形商标已经进入了商标续展阶段。

蜜雪冰城为了保护品牌,注册了大量的“蜜雪冰城”、“mxbc”、“mi xue bing cheng”、“蜜管家”等商标,45类全类覆盖。

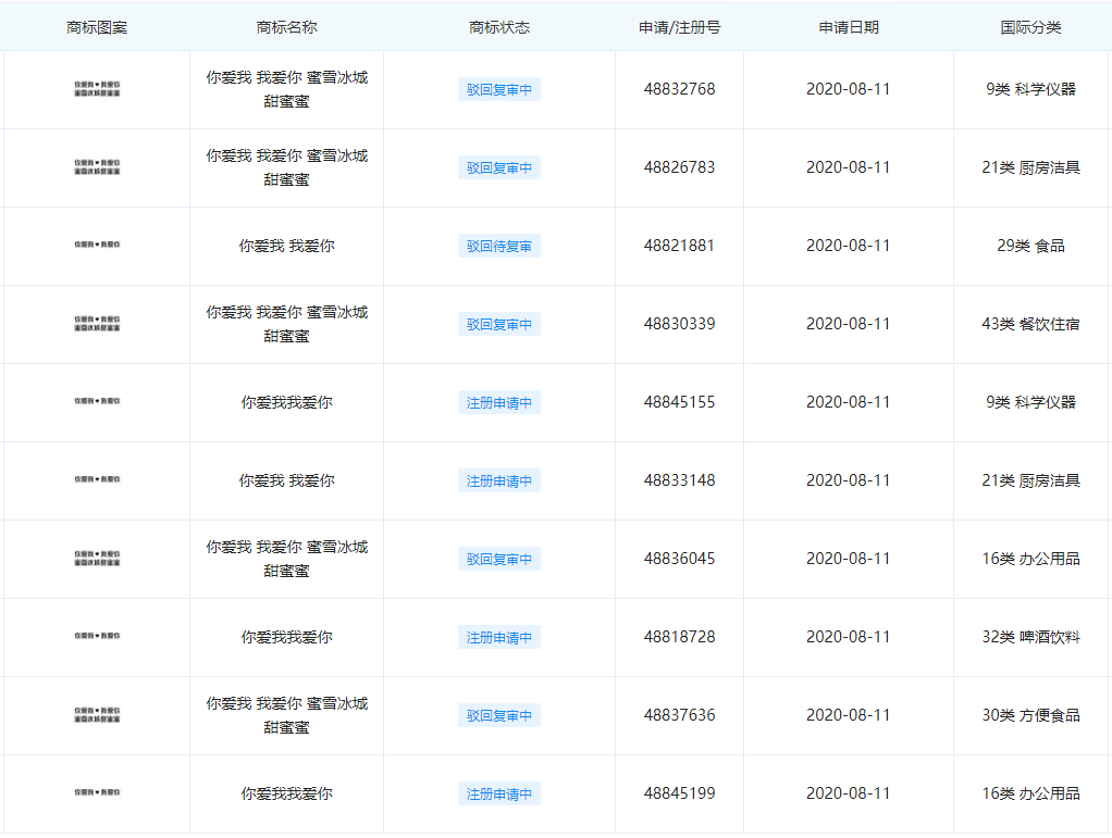
值得一提的是,蜜雪冰城于2020年8月就开始申请“你爱我·我爱你”、“你爱我 我爱你 蜜雪冰城甜蜜蜜”商标,看来这首主题曲在那时候就已开始筹备。

不过,这些商标申请结果不容乐观,目前大部分都处于驳回复审中,小部分处于注册申请中。最终能否注册下来尚未可知。
但不可否认的是,蜜雪冰城对商标保护高度重视,这也是其品牌发展中重要的一环。据了解,目前蜜雪冰城加盟店已经开了1万多家,要保证品牌不被山寨,商标保护必不可少。