{{ v.name }}
{{ v.cls }}类
{{ v.price }} ¥{{ v.price }}
今年以来,河南在影视表演节目上成绩十分亮眼,春晚的《唐宫夜宴》和端午的《洛神水赋》纷纷“出圈”,赢得好评如潮。
唐宫夜宴和洛神水赋火了,能带来一系列的IP效应,注册商标保护势在必行。

此前,唐宫夜宴刚刚爆火时,河南官方平台尚未来得及作出反应,就已经有企业和个人抢注了上百个“唐宫夜宴”、“唐宫小姐姐”等相关的商标。
而后,河南广播电视台、河南博物院、郑州歌舞剧院才开始陆续对“唐宫夜宴”、“梦回大唐”、“唐宫姊姊”、“唐宫唐俑”等进行商标注册申请,一口气申请了上百件。

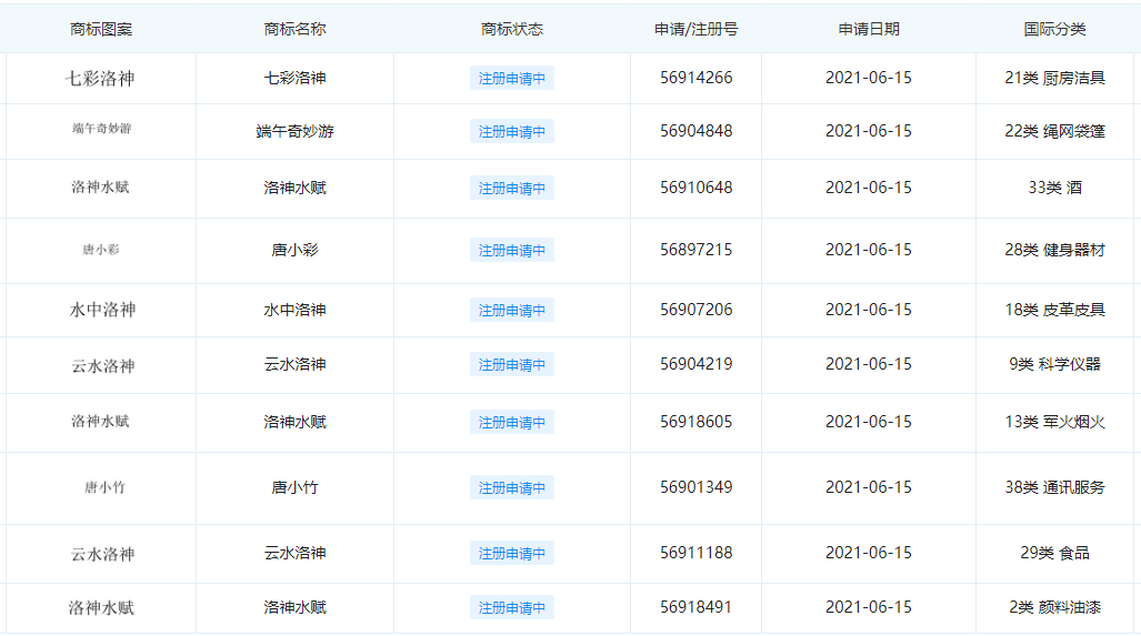
有了唐宫夜宴商标被抢注的教训之后,河南广播电视台在对洛神水赋相关商标进行保护注册时反应更加迅速。
端午节过后的第一天,河南广播电视台就提交了“洛神水赋”、“七彩洛神”、“云水洛神”、“水下飞天”、“唐小可”、“唐小玉”、“端午奇妙游”等商标注册申请,一口气注册了200多件。

对于河南广播电视台来说,不管是唐宫夜宴还是洛神水赋,都已经成为了一个文化IP,要想将IP做大做强,知识产权保护必不可少。
有消息称,“洛神”的相关衍生品正在紧锣密鼓打造中,将于今年七夕之际推出。